1
/
of
8
508546M1 RH / LH Spindle Fits Massey Ferguson Tractor 135 235
508546M1 RH / LH Spindle Fits Massey Ferguson Tractor 135 235
Regular price
$197.00 AUD
Regular price
Sale price
$197.00 AUD
Unit price
/
per
Shipping calculated at checkout.
Couldn't load pickup availability
One New Aftermarket Replacement RH / LH Spindle that Fits Massey Ferguson Tractor Models 135, 235.
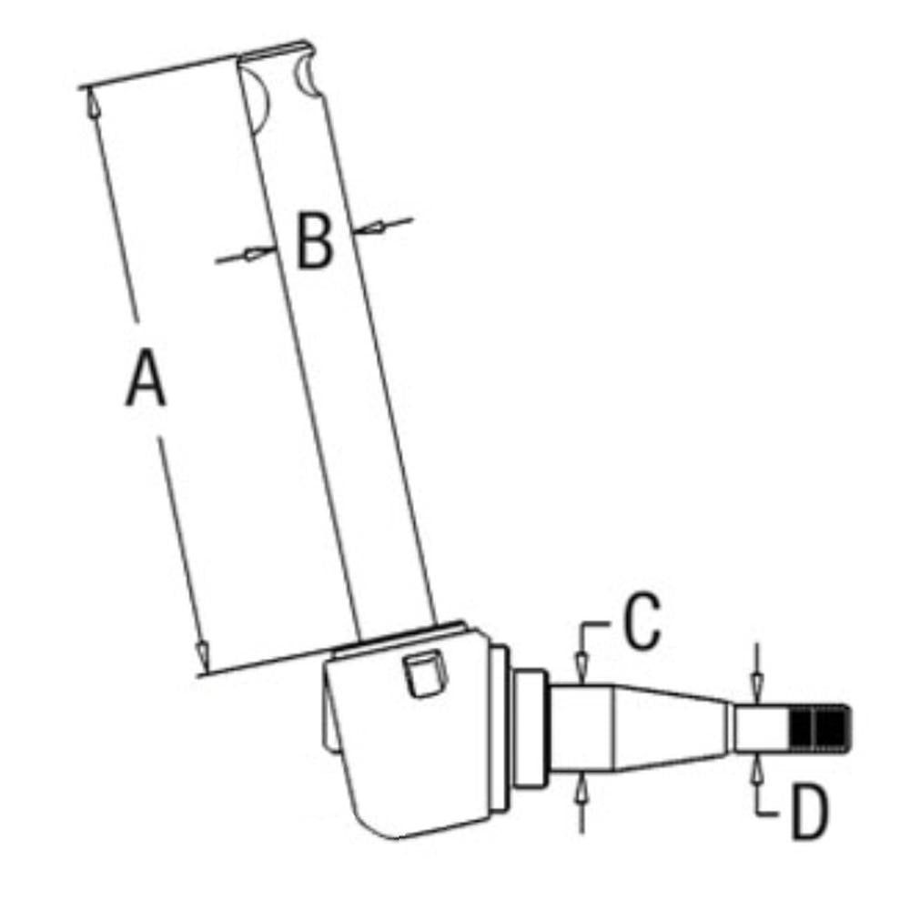
Dim A (1) A - 11.000"Dim B (2) B - 1.250"
Dim C (3) C - 1.375"Dim D (4) D - .750"
Replaces Part Numbers 508546M1, 508546M92, 508546V92, VPJ1040.
Models This Part Fits:
235, 135, SeveralAdditional Information:
Heat Treated A - 11.000" B - 1.250" C - 1.375" D - .750"Reference Numbers:
194391M91, 508546M91, 508546V92, VPJ1040Product Category:
AgricultureView More: Agriculture Replacement Parts
Product Group:
Engine PartsView More: Engine Parts Replacement Parts



